This article analyses the recent Court of Appeal decision in Salts Healthcare Ltd v Pelican Healthcare Ltd [2026] EWCA Civ 93, which addresses several important issues in patent law.
The case concerns a patent for ostomy bags, which are medical devices used to collect human waste from a stoma. It raises questions regarding claim construction, infringement by equivalence under the Actavis v Eli Lilly framework, and novelty. The judgment also addresses an interesting costs issue arising from the transfer of proceedings from the Intellectual Property Enterprise Court (IPEC) to the Patents Court. The decision offers valuable practical guidance for patent practitioners on claim drafting and prosecution strategy.
The Patent in Suit
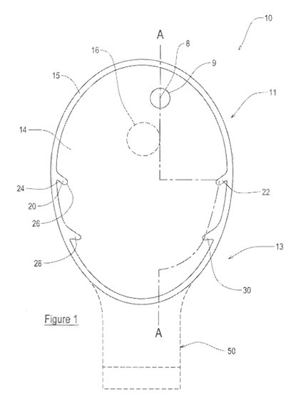
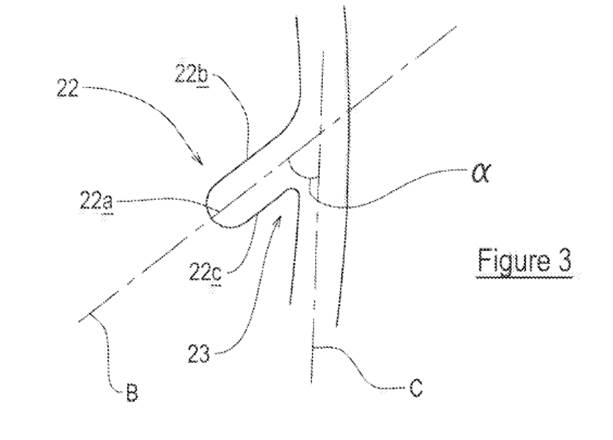
Salts' UK patent relates to ostomy bags for collecting human waste from a stoma, an opening in the digestive system created by surgery. The disclosed invention concerns a specific welding structure of the bag, which provides multiple welding portions configured to prevent bulging by distributing the collected bio-waste more evenly within the bag. Figure 1 (see below) discloses a front view of the ostomy bag having four weld portions (22; 24; 28; 30) extending from a periphery (15) of the appliance, and Figure 3 discloses a weld portion (22) in more detail.

Claim Interpretation and Normal Infringement
The appeal primarily addressed claim features requiring that the weld portions both "extend away from a periphery of the appliance" and "[extend] downwardly towards a bottom of the appliance". The Court of Appeal held that the weld portion is additional to the periphery and must extend away from an actual (rather than hypothetical) periphery, and that the weld portion in its entirety (rather than just its top edge) must face downwardly towards the bottom of the bag.
Pelican's ModaVi products include "waist" portions where the bag periphery tapers inwardly from the sides, and "lobe" portions which provide thicker areas of the periphery extending inwardly from the bottom of the bag, shown below.

The Court of Appeal held that the waist and lobe portions of the ModaVi bag do not both extend away and extend downwardly, and thus do not infringe Salts' claims under a normal interpretation.
Infringement by Equivalence (Actavis v Eli Lilly)
The Court of Appeal then moved on to assessing infringement by the doctrine of equivalents for the lobe portions of the ModaVi bags. In this, the Court of Appeal upheld the first instance decision that there was no infringement by equivalence.
In doing so, the Court of Appeal's analysis of the third Actavis question of whether "a reader of the patent would have concluded that the patentee nonetheless intended that strict compliance with the literal meaning of the relevant claim(s) of the patent was an essential requirement of the invention" provides some interesting points.
On the facts of this case, the Court of Appeal held that strict compliance with the literal meaning was essential for four reasons:
(i) The claim at issue was formulated in structural and not functional terms, with the structural requirements being prescribed with considerable specificity;
(ii) The functional advantages claimed in the specification are only claimed for the specific weld portions of the relevant embodiment, rather than a more general principle;
(iii) The patent includes a large number of independent claims (10 in total), which suggests the patentee carefully considered the extent of the claim scope, attempting to cast them as broadly as possible in relation to the specific embodiments; and
(iv) The feature of the weld portions extending downwardly towards a bottom of the appliance is a feature of some independent claims, but not others.
These factors provide some pertinent considerations for patent practitioners approaching drafting and prosecution.
It is a common strategy to capture potential infringements and provide flexibility for future modifications by claiming features in terms of their broad function, rather than their detailed structure (clarity permitting). However, it was noted in the appeal judgment that the description did not specifically explain how the weld portions achieve their described advantages. As a first takeaway, functional language may aid in capturing infringement by equivalence, but it should be ensured that all technical benefits of the invention are mapped to their respective structural features. Alongside this mapping, it should be iterated how these effects are achieved. In this way, reliance on the common general knowledge of the skilled person in construing the inventive concept may be avoided.
A second takeaway is that, although specific technical benefits should be mapped to their corresponding structural features, the draughtsman should not forego a description of the overarching functional improvements of an invention. That is, a broad description of the general improvements for a class of features may provide some breathing room when assessing equivalence.
The third takeaway is that, for assessing the third question of infringement by equivalence, the fewer independent claims the better. Reducing the number whilst increasing the scope of independent claims in an application would appear to result in the skilled person being less likely to consider that strict adherence to the specific wording of the claim was intended.
Novelty
At first instance, it was held that claim 8 as granted lacked novelty over Grum-Schwensen, which concerns a drainable ostomy pouch with inwardly protruding welding portions and a releasable fold-up closure system. Salts challenged this conclusion, arguing that the weld portions of the prior art do not extend downwardly towards the bottom of the pouch.
The novelty assessment turned on the exact location of the bottom of the pouch in its folded-up state, since it is necessary for the weld portions to be above the bottom of the bag in order to extend downwardly towards it. Taking into account evidence from an expert witness and the Court of Appeal's own assessment of the prior art, it was held that the prior art does not clearly and unmistakably disclose the location of the bottom of the bag in the folded-up state, and thus does not disclose the downward orientation of the weld portions relative to it. The Court of Appeal therefore allowed Salts' appeal, overturning the novelty decision at first instance.
It is noteworthy that the figures of Grum-Schwensen were considered to be inconsistent, with the Court of Appeal remarking that it was "impossible to be sure where the bottom of the bag was". Given that novelty turned on this point, this provides a fourth takeaway: ensure that figures are consistent, both with themselves and with the description.
Costs
An interesting costs issue was also resolved by the Court of Appeal.
During the proceeding, Salts' action was transferred from the IPEC to the Patents Court. After Pelican was successful at trial in the Patents Court, it sought legal costs to be assessed according to the Patents Court standard approach. Salts, however, disagreed and said costs prior to the transfer from the IPEC ought to be capped according to IPEC's cost caps. If Salts was correct in its position, that would reduce any costs payable to Pelican. The trial judge agreed with Pelican and did not cap Pelican's costs recovery during the IPEC stages.
The Court of Appeal, however, held that while the CPR does not ordinarily require the Patents Court to assess pre-transfer costs according to IPEC cost caps, in the circumstances of this case it was appropriate to do so. To support its finding, the Court of Appeal highlighted an IPEC order regarding costs when the proceeding was transferred.
A final takeaway is therefore to ensure that any order transferring proceedings clearly states the position as to costs, so it does not need to be addressed later by the trial judge or the Court of Appeal.
Conclusion
The Court of Appeal's decision in Salts Healthcare v Pelican Healthcare provides important guidance on patent claim construction, the doctrine of equivalents, and novelty assessment. For patent practitioners, the case underscores the importance of careful claim drafting ensuring technical benefits are clearly mapped to structural features, and maintaining consistency across patent figures. The costs ruling also serves as a useful reminder to address procedural matters, such as cost caps, at the point of transfer between courts. Overall, this decision offers practical lessons that will inform patent prosecution and litigation strategy going forward.
